2026年7月1日实施!国家标准《工业企业温室气体排放核算和报告通则》GB/T 32150-2025
《工业企业温室气体排放核算和报告通则》GB/T 32150-2025将于2026年7月1日起实施。
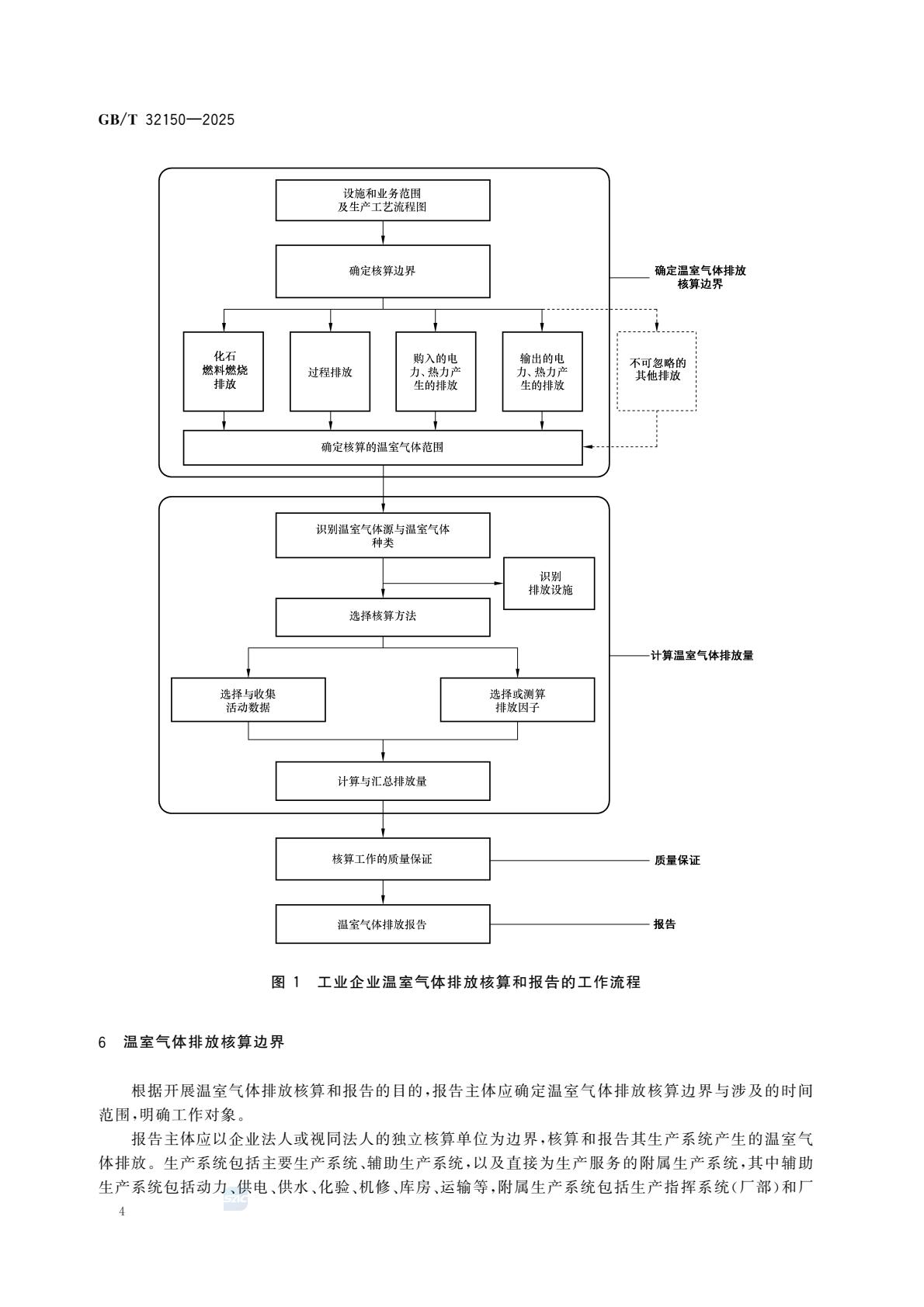
标准规定了排放核算与报告的基本原则、工作流程、核算边界、核算步骤与方法、质量保证、报告内容等6项重要内容。其中,核算边界包括了企业的主要生产、辅助生产、附属生产等三大系统。核算范围包括企业生产的燃料燃烧排放,过程排放以及购入和输出的电力、热力产生的排放。适用于指导工业企业或组织温室气体排放核算方法与报告要求标准的编制,也为其他类型企业开展温室气体排放核算与报告活动提供了方法参考。
本文件代替GB/T32150—2015《工业企业温室气体排放核算和报告通则》,与GB/T32150-2015相比,除结构调整和编辑性改动外,主要技术变化如下:
a)增加了碳汇、碳清除等相关术语(见第3章);
b)更改术语“燃料燃烧排放”为“化石燃料燃烧排放”并更改了定义(见3.7,2015年版的3.7);
c)增加了对报告主体涉及温室气体汇和不可忽略的其他间接温室气体排放的相关内容(见第6章);
d)增加了报告主体使用外购非化石能源电力排放因子确定的要求(见7.5.6);
e)增加了报告主体使用外购非化石能源热力排放因子的选取要求(见7.5.7);
f)增加了“不可忽略的其他间接排放”和其他间接排放的四种主要类别(见附录A);
g)增加了非化石能源电力排放因子的取值要求及证明文件(见附录B)。
全文如下:


















评论:0
点赞:0
阅读: